专注产品
关心客户
协力合作
共享经验
位置指示器
УФ 057系列
满足核级鉴定要求,非接触式磁性驱动接近开关,无摆臂,无弹簧,无复杂的机械结构,不锈钢外壳一体式成型,耐高温,防潮,耐腐蚀; 可用于高温、辐照的水(含硼水)下环境; 可选1/2”或3/4”电缆配管接口,也可选直出电缆,电缆长度根据客户需求定制;采用低烟,无卤,阻燃(自灭火材料)电缆,不会释放有毒或腐蚀性产品; 产品不受 EMC和射频干扰的影响。
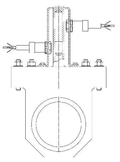
波纹管组件
系列
用于波纹管密封隔离阀,平衡波纹管安全阀。可根据需求设计定制。
快速接头
电气和仪表设备的快速断开连接器,用于位置开关、电磁阀、压力和流量变送器等。
格兰密封截止阀
СК 21014系列
用于连接或切断控制和测量系统中的设备,工作介质可以是蒸馏水、油、蒸汽、冷凝水、工业水、氮气。
波纹管密封截止阀
СК 26022系列
波纹管密封隔离 - 可用于多种流体,如空气、水、蒸汽、腐蚀性介质、油、液态金属和放射性介质等。
安全阀
УФ 53085系列
安全阀是启闭件受外力作用下处于常闭状态,当设备或管道内的介质压力升高超过规定值时,通过向系统外排放介质来防止管道或设备内介质压力超过规定数值的特殊阀门。安全阀属于自动阀类。
循环阀
УФ 96553M系列
该阀门用于飞机防冰冻系统的热空气供给循环控制,并向出口提供工作介质,使该介质在全开位置具有最大值,在关闭位置具有最小值。
整体装置
УФ 90056M系列
整装机组包含 8 个不同功能的单元,确保工作介质的供给和回填系统的减压。
电磁控制阀
УФ 96395系列
电磁控制阀是设计用于航天器定向与稳定的燃气火箭系统,确保其中燃气管道多次稳定启闭。这种阀门已经通过了一系列复杂的地表应用研发,并成功地用于“火星号”、“织女号”、“火卫一号”。
增压装置
УФ 90083系列
包括两个单元 - 双定位电磁截止阀和压力调节器。它设计用于远程控制工作介质和自动调节下游压力。
止回阀
УФ 41058系列
止回阀用于保护空气管道不受空气回流的影响。环境气候对设备的影响,符合ENLG-S规范。
УФ 55076系列
安全阀是设计用于保持主气路中的压力,确保机组的工作性能。在没有流量的情况下,实现紧密密封,对周围环境的最小泄漏。
阀位检测
将目标磁铁固定在阀杆上,通过检测阀杆的运动获取阀位状态
穿透性检测
可在不穿过阀门压力边界的情况下提供位置感应。
燃料转运
燃料倾翻架位置反馈,运输小车位置反馈,乏燃料处理等。
中文
EN